| The
line
combines a very modern design (registered model) with a completely
original mechanism (patented by )
and noticeable mechanical properties (load up to 50 kg). They
ensure return to 0°, 90° and 180° in a ± 10°
zone and stopping in all other positions. For a very precise return
position, it is recommended to complete the installation with
magnetic weatherstrip.
The
slightly domed leaves and rounded edges catch the eye discretely.
A single corrosion-proof and practically wear-proof part performs
the function traditionally provided by pistons and springs, thereby
eliminating any risk of jamming. They combine ruggedness and simplicity
:
- - The plate and cam made of one piece as is the bracket plate,
- - The 6 mm hinge pin and screws are made of stainless steel.
The
line includes 2 hinge models :
Model |
Wall
to glass |
Glass
/ Glass 180° |
Photo |
|
|
Sketch |
|
|
Installation |
|
|
- chrome
- chromé mat
- gold
- white (RAL 9010) |
|
|
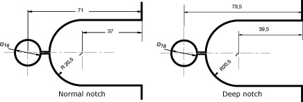
Spacing
from the support :
- normal notch
- deep notch |
Wall
to glass
7 mm
4,5 mm |
glass/glass
8,5 mm
6 mm |
Notch
on hinged panel
(commune aux deux modèles) |
|
Notch
on mounting panel
( glass/glass) |
- |
 |
ASSEMBLING
Door
:
-
Height x width : 2 m x 1 m
- Thickness : 8 or 10 mm
- Load : 50 kg for one pair
- Notches : see sketchs above
FINISH
The
standard line is available with four finishes : chrome-plated
brass, mother of pearl, gold-plated and white (RAL 9010).
Other finishes are possible. Consult ADLER S.A. for quantities
and delay.
ACCESSORIES
The
accessories for use with doors and gates are included in the ADLER
S.A. catalogue, e.g.:
- Pull knobs,699
- Seals,
790
- Stops,799
PART
LIST
| DESCRIPTION |
PART NUMBER
|
SOLD
BY |
Lip
Seal - Translucent PVC section
|
|
|
Lg
2 ,20 m |
Magnetic
PVC weatherstrip:
- magnetic seal 90° North
- magnetic seal 90° South
- magnetic seal 180° |
|
Lg
1 ,95 m
"
Lg
2 ,20 m |
single brass knob to be glued:
-
Chrome
- Matt chrome
-
Polished
|
|
Unit
"
"
|
single brass knob to be screwed:
-
Chrome
- Matt chrome
-
Polished
- White |
|
Unit
"
"
" |
double brass knob:
-
Chrome
- Matt chrome
-
Polished
- White |
|
Unit
"
"
" |
| SEE OTHER HINGES FAMILIES : |
|
 |
|
|
|
|
|
|
| |
|
|
|
|
|
|
|
|

ADLER SAS - Z.A. La Barogne - 9, Av des 22 Arpents - 77230 Moussy le Neuf - France
Tel.: +33 (0)1.60.03.62.00 - Fax :+33 (0)1.60.03.62.49
E-mail : admin1@adler-sa.com
|