FT 780 0104
Rev.2 0610

APPLICATION

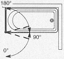
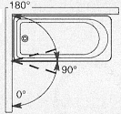
hinges are designed for doors 8 to 10 mm thick, especially made of glass. They hold the door firmly without jamming in all positions except a 15° zone on either side of the balanced self-closing position (90°).

hinges are mainly used in bathrooms, shower stalls and separation gates.

DESCRIPTION

The lines includes five hinge models:

With wall leaf, 2 versions: "normal" and ""   180° double glass/glass
 
Glass/glass with 90° central position   Glass/glass with 90° angle

ASSEMBLING

door :

  • Height x width : 180 cm x 70 or 190 cm x 95 for version " "
  • Thickness : 8 to 10 mm
  • Maximum load : 31 kg/pair or 45kg for version ""
  • Notch : uniquement approfondie en version ""
  • Encoche (�ch.1) : normal or deep in normal version, only deep in version ""

Nota : In standard model the wall plate has cut-outs in bottom and top parts, PVC sealing strips (790 02X, 790 06B) or tubular seal (790 08D) can be extended to the hinge’s inside. It is not the case with "45" model. In order to achieve some water tightness it is recommended to use a deeper cut out for the hinge which offers minimum space between glass and wall.

Separation from the support :

SPECIFICATIONS

With wall leaf

180° double glass/glass

glass/glass central 90° position

glass/glass with 90° angle

INSTALLATION

NOTCH ON FIXED PANEL

-

- A -

(2x notch))

- B -

- C -

Notch on

opening

panel

 

Normal notch
(4x)


Separation from the support

- D -


6 mm

- D -


6 mm

- D -


6 mm

-

Deep notch

Separation from the support

- E -

2 mm

- E -

2 mm

- E -

2 mm

- F -

3 mm


INSTALLATION

  • Remove the leaves and counterleaves and attach the hinges flat on the doorjamb, making sure they are aligned.
  • Check for the presence of the cork gaskets and install the leaves and counterleaves on the door.
  • slide the clamps onto the cams attached to the doorjamb. Level and staighten the door.
  • Tighten the screws completely (use an Allen wrench). Recommended torque : 0,25 m.kg.
  • In case of an offset, compensation plates are available (thickness 3 mm).
  • Make sure there is no risk of opening the door more than 90° beyond the balanced position. If there is, provide a stop.

 

FINISH-DECOR

hinges are available with three finishes : chrome-plated brass, matt chrome and gold brass. The model with wall leaf is also available with a white epoxy (RAL 9010) or brushed chrome finish.

ACCESSORIES

The catalogue includes many accessories for use in separations, shower stalls and bathrooms, e.g.:

- Shower curtain rod, pull knob, see family 699,

- Clamps for attachment of separations, see families 504 et 634,

- Water deflector, see family 790

PARTS LIST

PART NUMBER

DESCRIPTION

SOLD BY

648 02N hinge with wall leaf - Chrome-plated

Set of 2

648 03P hinge with wall leaf - Brushed chrome

Set of 2

648 04Q hinge with wall leaf - Matt chrome

Set of 2

648 00L hinge with wall leaf - Gold brass

Set of 2

648 45K hinge with wall leaf - White epoxy (RAL 9010)

Set of 2

648 05R "" hinge with wall leaf - Chrome-plated

Set of 2

648 07T "" hinge with wall leaf - Matt chrome

Set of 2

648 19G "" hinge with wall leaf - Gold brass

Set of 2

648 09V "" hinge with wall leaf - Brushed chrome

Set of 2

648 36Z 180° glass/glass hinge - Chrome

Set of 2

648 37A 180° glass/glass hinge - Matt chrome

Set of 2

648 48N 180° glass/glass hinge - Gold

Set of 2

648 46L 180° glass/glass hinge - Epoxy blanc (RAL 9010)

Set of 2

648 42G glass/glass hinge with central 90° position - Chrome

Set of 2

648 43H glass/glass hinge with central 90° position - Matt chrome

Set of 2

648 53T glass/glass hinge with central 90° position - Gold

Set of 2

648 39C glass/glass hinge with 90° angle - Chrome

Set of 2

648 40D glass/glass hinge with 90° angle - Matt chrome

Set of 2

648 49P glass/glass hinge with 90° angle - Gold brass

Set of 2

648 34X Compensation plate (th. 3 mm) - Chrome

Unit

648 35Y Compensation plate (th. 3 mm) - Gold

Unit

 

Translucent PVC section for 8 mm glass thickness
2 ,20 m
Translucent PVC section for 10 mm glass thickness
2 ,20 m
790 16N Adhesive silicon tubular seal
25 m roll
790 43S polycarbonate translucent "L" seal
1.95 m

790 45U
790 46V
790 05A

Magnetic PVC weatherstrip:
- magnetic seal 90° north
- magnetic seal 90 ° south
- 180°



1.95 m
1,95 m
2 ,20 m
805 18V Mitre cutter hand shear
x 1

699 65Z
699 71G
699 66A
single brass knob to be glued:
- Chrome
- Matt chrome
- Polished

Unit
"
"

699 67B
699 73J
699 68C
699 72H
single brass knob to be screwed:
- Chrome
- Matt chrome
- Polished
- White

Unit
"
"
"

699 69D
699 75L
699 70F
699 74K
double brass knob:
- Chrome
- Matt chrome
- Polished
- White

Unit
"
"
"

 

SEE OTHER HINGES FAMILIES :
 
NEW
 
 

ADLER SAS - Z.A. La Barogne - 9, Av des 22 Arpents - 77230 Moussy le Neuf - France
Tel.: +33 (0)1.60.03.62.00 - Fax :+33 (0)1.60.03.62.49
E-mail : admin1@adler-sa.com