|
|
FT 8511115
Maj.1.:21.03.16 |
PDF 
|
|
|
FT843 Adler CAPSI 
|
|
FT842 La vitrine
|
|
FT841 VF par Adler 
|
|
FT837 Adslide  |
|
|
FT852 la douche clip-in-door 
|
|
FT848 Adler WALK-IN  |
|
FT846 Adler La douche  |
|
|
Catalogue charnières et quincaillerie 
|
|
|
 
10 modèles de base : |
Modèle 1 : une porte en niche |
 |
| Avec du verre feuilleté, même non trempé, 5-5.2 ou du verre trempé de 10mm, une solution minimaliste et parfaitement étanche de porte simple à construire dans toute niche avec des murs même non parfaitement plans ni verticaux. Les profils muraux permettent de compenser naturellement tous ces défauts. La paumelle murale pleine hauteur permet encore d’ajuster la largeur de la porte de +/-7 mm. Egalement possible avec du verre feuilleté 4-4.2 ou trempé monolithique de 8mm mais avec des cales liège. |
 |
 |
 
Modèle 2 : en niche, une porte et une glace fixe étroite |
 |
Avec du verre feuilleté 55.2, trempé ou non, ou du verre trempé de 10mm, une solution minimaliste et étanche de porte simple à construire dans toute niche avec des murs ni plans ni verticaux : les profils muraux permettent de compenser naturellement tous ces défauts. La glace fixe étroite (moins de 30cm de large) permet à la fois de limiter le débattement de la porte et de doubler les rattrapages de défauts de prise de cotes : la paumelle murale pleine hauteur permet d’ajuster la largeur de la porte de +/-7 mm. |
|
 |

Modèle 3 : en niche, une porte et une grande glace fixe |
|
Pour du verre feuilleté, trempé ou non, 5-5.2 ou du verre trempé de 10mm, une construction en niche de design très pur et simple à réaliser : les profils muraux permettent de corriger les défauts de planéité et verticalité des murs. La glace fixe plus large que 30cm est raidie dans son coin supérieur par un raidisseur carré qui finit harmonieusement la façade. Ajustement à la largeur de la niche : +/-7 mm côté porte ; idem côté fixe. |
 |
| Modèle 4 : en coin, la porte au mur, tout simplement |
|
Pour du verre feuilleté, trempé ou non, 5-5.2 ou du verre trempé de 10mm, une construction étanche en coin de design très pur et simple à réaliser : les profils muraux permettent de corriger les défauts de planéité et verticalité des murs. La largeur du retour fixe peut être ajustée : +/-14mm. Cette glace est maintenue par le raidisseur qui finit la façade très pure. Tous les chants des glaces sont protégés. La largeur de la façade est ajustable de +/-7mm au niveau de la charnière ; elle peut être encore élargie en calant au dos du méplat mural. |
 |
| Modèle 5 : en coin, la porte articulée sur le retour |
|
Pour du verre feuilleté, trempé ou non, 5-5.2 ou du verre trempé de 10mm, une construction étanche en coin de design très pur et simple à réaliser : les profils muraux permettent de corriger les défauts de planéité et verticalité des murs. La largeur du retour fixe peut être ajustée : +/-14mm. Cette glace est maintenue par le raidisseur qui finit la façade très géométrique. La largeur de la façade est ajustable de +/-7mm au niveau de la charnière ; elle peut être encore élargie en calant au dos du méplat mural qui peut être fixé en dernier. |
 |
| Modèle 6 : en coin, la porte échappant du mur |
|
Pour du verre feuilleté, trempé ou non, 5-5.2 ou du verre trempé de 10mm, lorsqu’il convient de limiter la largeur de la porte, une construction étanche en coin de design très pur : les profils muraux permettent de corriger les défauts de planéité et verticalité des murs. La largeur du retour fixe et celle de la façade peuvent être ajustées : +/-14mm. Le raidisseur carré finit la façade géométrique, retient le retour fixe et sécurise la glace fixe de façade. |
 |
| Modèle 7 : en coin, la porte au mur et une glace fixe étroite en façade |
|
Pour du verre feuilleté, trempé ou non, 5-5.2 ou du verre trempé de 10mm, lorsqu’il convient de limiter la largeur de la porte, une construction étanche en coin de design très pur : les profils muraux permettent de corriger les défauts de planéité et verticalité des murs. La largeur du retour fixe et celle de la façade peuvent être ajustées : +/-10mm. Sans raidisseur, la glace fixe en façade est limitée à une largeur de 30 cm. |
|
 |

Modèle 8 : en coin, la porte au mur

Pour du verre feuilleté, trempé ou non, 5-5.2 ou du verre trempé de 10mm, lorsqu’il convient de limiter la largeur de la porte, une construction étanche en coin de design très pur : les profils muraux permettent de corriger les défauts de planéité et verticalité des murs. La largeur du retour fixe et celle de la façade peuvent être ajustées : +/-10mm. Le raidisseur carré finit la façade géométrique, retient le retour fixe et sécurise la glace fixe de façade. |
 |
| Modèle 9 : contre un mur |
|
Pour du verre feuilleté, trempé ou non, 5-5.2 ou du verre trempé de 10mm, une construction étanche contre un mur, de design très pur : les profils muraux permettent de corriger les défauts de planéité et de verticalité des murs. La largeur des retours fixes et celle de la façade peuvent être ajustées : +/-10mm. Le raidisseur carré finit la façade géométrique, retient le retour fixe et sécurise la glace fixe de façade. |
 |
| Modèle 10 : le cube de verre |
|
Pour du verre feuilleté, trempé ou non, 5-5.2 ou du verre trempé de 10mm, une construction étanche formant un cube de verre autoportant. La largeur des côtés peut être ajustée : +/-5mm. Le raidisseur carré finit la façade très pure, solidarise entre eux les côtés et sécurise la glace fixe de façade. |
 |
| Les éléments constructifs : |
La charnière pleine hauteur ADLER VF
La charni�re ADLER VF est originale � plus d�un titre : - Elle permet d�articuler en s�curit� une porte en verre feuillet� non tremp�.
- Elle est tr�s simple � installer sur un profil mural : 2 vis m�tal. - Elle permet � tout moment un ajustement simple de la largeur de la porte, de +/- 10mm.
- Elle constitue une charni�re double-action, +/- 90�, anti pince-doigt. - D�un design tr�s sobre et original, elle habille discr�tement la fa�ade de la paroi de douche sans nuire � la transparence de l�ensemble en pr�servant l�apparence d�une construction en verre non-encadr�. |
|
 |
|
 |
Le méplat mural avec joint
Le m�plat mural a plusieurs fonctions : Pour la fixation murale de la charni�re, il permet de : - compenser les d�fauts de plan�it� et de verticalit� du mur ; - �tancher la construction en comblant par le mastic de scellement le retrait des joints de carrelage,� - s�curiser la fixation de la porte par un vissage m�tal-m�tal de la charni�re sur le profil, le profil �tant par ailleurs coll� / viss� sur le mur. Lorsque la porte est articul�e sur une glace en retour, si besoin, le m�plat qui peut �tre intercal� entre le profil U de couverture du chant de la glace en retour et la charni�re re�oit le joint pour une �tanch�it� parfaite et pour freiner le mouvement libre de la porte. |
|
 |
|
 |
Le profil U avec joint de feuillure pour fixation au mur ou extrémité libre de retour fixe
Le profil en U, tr�s rigide, permet : - De fixer efficacement une paroi fixe de 10 mm, par exemple en 55.2 non tremp�, sur un mur ;
- D�ajuster la position de la glace de +/- 8 mm ; - D�immobiliser le profil sur la glace ou la glace dans le profil, fermement, avec le joint de feuillure sp�cial, tr�s efficace � dans certains cas, un encollage compl�mentaire par mastic de scellement, colle MS polym�re ou silicone peut s�curiser la construction - ;
- De supporter une charni�re de porte, avec ou sans m�plat interm�diaire, celui-ci �tant utile dans le seul cas o� une �tanch�it� et isolation compl�te est recherch�e, y compris au niveau de la charni�re ;
- De prot�ger le chant libre d�une paroi en verre feuillet� non tremp� ; De servir de surface plane et lisse d�appui d�un joint d��tanch�it� d�extr�mit� de porte. |
|
|
|
 |
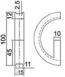
Le profil L avec joint de feuillure pour raccord d’angle de 2 glaces fixes
Le profil en L, tr�s rigide, permet :
- De fixer efficacement entre elles, d��querre, deux parois fixes de 10 mm, par exemple en 55.2 non tremp� ;
Avec une tol�rance de quelques degr�s d�angle dans l��querrage ;
- D�ajuster la position de la glace de +/- 2-3 mm ;
- D�immobiliser le profil sur la glace ou la glace dans le profil, fermement, avec le joint de feuillure sp�cial, tr�s efficace � dans certains cas, un encollage compl�mentaire par mastic de scellement, colle MS polym�re ou silicone peut s�curiser la construction - ;
- De r�aliser une grande vari�t� de constructions avec du verre feuillet� non tremp�, du cube � 5 faces � une cloison en coin, possiblement autoportant ;
Le design est minimaliste et tr�s pur : juste du m�tal et du verre. Le joint de feuillure tr�s discret est mont� c�t� int�rieur. |
|
|
|
 |
La barre de seuil
La barre de seuil est un �l�ment important de la construction d�une cabine de douche ADLER VF :
- Elle centre et immobilise les profils verticaux, en U et en L.
- Elle assure l��tanch�it� de la cabine de douche dans sa partie basse : d�autant plus sur un receveur carrel�,� en lissant le sol et en comblant les retraits des joints de carrelage.
- Elle est r�sistante gr�ce � un collage efficace par la rainure m�nag�e dans son dos.
- Elle permet la mise en place simple et fiable d�une �ventuelle pince, n�cessaire � chaque fois qu�il y a une glace fixe en fa�ade. Aucun per�age du receveur n�est n�cessaire.
- Les profils standards d��tanch�it� ADLER permettent :
. une construction tr�s rapide et �tanche � le profil PVC rigide permet de rattraper le niveau de fond de pince et ainsi au joint de courir en continu, sur une surface d�appui tr�s plane, sous tout le chant bas des glaces fixes - ;
. une parfaite r�partition de la charge de la glace fixe sur toute la longueur de son chant d�appui : pr�venant ainsi tout risque que le verre file ou d�lamine du fait d�une concentration de pression locale sur son chant. |
|
Ci-contre, l’empilage standard de la barre de seuil encollée sur le receveur, du profil PVC rigide qui constitue un lit de niveau avec le fond d’une éventuelle pince (glace fixe en façade) et le joint PVC qui assure l’étanchéité et la protection du chant de la glace fixe en en répartissant la charge.
Ci-dessous, la barre de seuil seule, encollée sur le receveur, telle qu’elle court sous une porte par exemple. |
 |
|
|
|
|
 |
Raidisseur CAPSI avec adaptations pour profils feuillure en L ou U
Les cabines ADLER VF sont conçues pour pouvoir être réalisées entièrement avec du verre feuilleté non trempé. Les seuls usinages sont réservés pour d’éventuels boutons, poignées ou onglets (Cf. « Composants divers », ci-après).
Lorsqu’un raidisseur est nécessaire pour assurer la stabilité de la paroi, il est donc fixé entre profils feuillures de chants et non directement sur les glaces. Le raidisseur CAPSI carré 20x20 est tronçonné à la longueur voulue et équipé en chacune de ses extrémités de la partie utile de fixation : l’insert standard de fixation du raidisseur au mur si le départ se fait sur le côté d’un profil en « U » ; un insert spécial ADLER VF si le départ se fait dans l’axe d’un profil « en U » ou à partir d’un profil de coin « en L ». |
|
|
|
 |
profil de chant 10x2 autocollant joint
Pour protéger les chants fragiles, et pour constituer une première barrière à la diffusion de l'humidité dans l'intercalaire PVB par exemple, Adler a conçu un profil aluminium très fin, pré-adhésivé, à coller autour de glaces 55.2. Ce profil très fin comprend une rainure dans laquelle peut loger un profil joint spécialement développé qui sert à l'indexage en position fermée et à l'étanchéité parfaite d'une porte sur pivot Adlock ou charnière Adler VF.
Le profil est livré en 2m20, joint encollé, et pré-adhésivé au dos prêt à coller sur le chant de la glace. |
|
|
|
 |
| Quelques composants accessoires : |
Profil déflecteur rejet d’eau de pied de porte 79043S
Profil transparent en polycarbonate autocollant sur un c�t� x une face. Masse adh�sive acrylique.
Parfaitement et durablement transparent, ce profil coll� en pied de porte force toute l�eau qui s��coule sur la porte � revenir dans le receveur. Sans frotter sur le sol ni sur la barre de seuil, toujours transparent, il assure une �tanch�it� parfaite en usage normal. |
|
|
|
|
 |
| D'autres joints du catalogue ADLER: |
|
|
Profil massif 8x8 en PMMA transparent, à coller à la colle UV ou bicomposant acrylique transparente : la même fonction que le déflecteur précédent, à préconiser pour les hôtels,… où ces éléments risquent d’être fortement sollicités.
Réf. 79036K |
|
 |
ADLER SAS propose une gamme complète de joints autocollants ayant des propriétés mécaniques, de résistance à la déchirure, à l’atmosphère,… exceptionnelles. Retrouvez les dans le catalogue ADLER téléchargeable sur notre site :
../catalogue/adler_catalogue_charnieres.pdf
Extrait du catalogue ADLER des joints :

|
|
 |
| Poignée en "G" |
Cette poignée s’insère dans une encoche en demi-rond taillée dans le chant libre de la porte. Collée, elle protège efficacement ce chant usiné et permet de limiter fortement le rodage après perçage ou fraisage.
C’est une alternative esthétique, particulièrement discrète, et pratique aux boutons et poignées de porte. |
|
|
|
|
 |
| Un composant indispensable pour toute fixation mécanique par point à travers du verre feuilleté non trempé. |
| Un brevet ADLER SAS : un principe unique de serrage d’un verre non trempé. Plus les rondelles sont serrées fort par l’accouplement sur le verre, plus la zone du trou, normalement point de fragilité accrue, est inertée. |
 |
 |
70807Q Rondelle dia.60 verre feuilleté non trempé |
Rondelles ADLOCK pour serrage sur verre feuilleté non trempé d’entretoises doubles jusqu’à diamètre 40. |
Ces rondelles inox de diamètre 60 permettent de fixer toutes pentures, tout connecteur, … de la gamme ADLOCK. Complétant harmonieusement la gamme précédente de poignées de porte, elles permettent aussi bien que la gamme présentée ici de construction en feuillure, de réaliser des parois en verre feuilleté non trempé, portes sur pivot, articulées sol-plafond ou sous raidisseur… |
 |
70807Q Rondelle dia.60 verre feuilleté non trempé pour entretoise simple |
Rondelles ADLOCK pour serrage sur verre feuilleté non trempé de pentures ADLOCK, de connecteurs d’angle, de toutes les pièces de constructions et d’articulations ADLOCK.
La rondelle de façade, prise séparément et en double, permet de monter avantageusement des entretoises doubles diamètre 20 de poignées jusqu’à diamètre 25. Consulter ADLER SAS. |
|
 |
| Une gamme de boutons de porte… De nombreux autres boutons peuvent être adaptés, idéalement avec vis M8, voire M6. |
 |
 |
 |
70765U |
69800V & suivants |
70765U & suivants |
Bouton Adlock rond diam. 30 Inox brossé. Finition poli sur demande. |
Bouton Capsi carré 30x30 Bronze chromé brillant, fini inox brossé ou doré. Bouton simple ou double. |
Bouton Adler rond diamètre 30 Laiton chromé brillant, chromé mat ou doré. Bouton simple ou double. |

|
Une gamme très complète de poignées inox, standard et sur mesure |
|
 |
Ces photos sont prises, de poignées assemblées sur des portes en verre trempé. |
Sur du verre feuilleté non trempé, en l’occurrence 55.2, ces poignées suivantes - comme les boutons précédents - doivent être montées très fortement serrées sur la glace à travers les rondelles 70807Q ou 70872L précédentes. |
  |
Familles-706-707-708 |
Toute une gamme de poignées inox, poli ou brossé, du diamètre 20 au diamètre 45, sur mesure ou standard.
Montées horizontalement, elles servent idéalement de porte-serviette. Des options sont également disponibles pour transformation d’une demi-poignée en poignée extérieure et bouton intérieur (CF. 70765U précédemment) ; ou encore avec onglet rond,… |
 |
70519B |
D’un design très pur, des poignées inox avec entretoises soudées, points de fixation sur le verre type ADLOCK pour un montage sûr et simple.
Poignée horizontale simple – Carré 20x20 - Longueur 520 - Entraxe 500. |
|
70518A |
D’un design très pur, des poignées inox avec entretoises soudées, points de fixation sur le verre type ADLOCK pour un montage sûr et simple.
Poignée verticale simple – Carré 20x20 -
Perçage de Ø 10 mm - Hauteur 320 - Entraxe 300 |
|
 |
|
 |
|
|