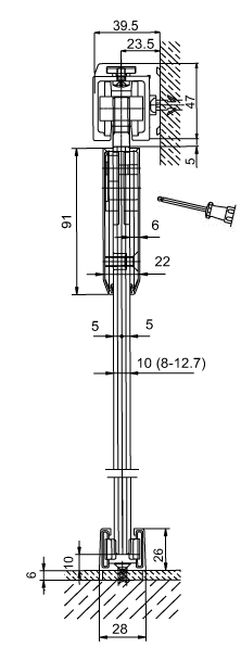
COULISSANTS SUSPENDUS
"HAWA JUNIOR
80 GP"

COUPES VERTICALES

 
 
FT 766_4 1202
 

 

COUPE VERTICALE SANS EQUERRE

 

COUPE VERTICALE AVEC EQUERRE

ADLER SAS - Z.A. La Barogne - 9, Av des 22 Arpents - 77230 Moussy le Neuf - France
E-mail : admin1@adler-sa.com