FT 755 0903
rèv.1 0610

UTILISATION

Les charnières sont prévues pour l'équipement de portillons de 8 à 10 mm d'épaisseur, notamment en glace.

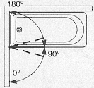
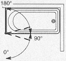
Elles assurent un maintien ferme, sans blocage, du portillon dans toutes les positions sauf dans une zone de 15° de part et d'autre de la position d'équilibre (90°) où s'exerce un rappel.

Les charnières trouvent leurs principales applications dans les installations de salles de bain, cabines de douche ou portillons de séparation.

DESCRIPTION

La gamme comprend 5 modèles de charnières :

A platine murale, 2 versions : "normale" et ""   Glace/glace double à 180°
 
Glace/glace à 90° centrale   Glace/glace à 90 d'angle

MONTAGE

Portillon :

  • Hauteur x largeur : 180 cm x 70 ou 190 cm x 95 pour la version " "
  • Epaisseur : 8 à 10 mm
  • Charge maximum : 31 kg/jeu ou 45kg pour la version ""
  • Encoche : uniquement approfondie en version ""
  • Encoche : normale ou approfondie en version normale.

Ecartement du support:

CARACTERISTIQUES

A platine murale

Glace/glace

Double à 180°

Glace/glace

à 90° centrale

Glace/glace

à 90° d'angle

INSTALLATION

ENCOCHE SUR FIXE

-

- A -

(encoche dite 2x)

- B -

- C -

Encoche

Sur

ouvrant

 

Encoche normale (dite 4x)

Ecartement du support

- D -

6 mm

- D -

6 mm

- D -

6 mm

-

Encoche approfondie

Ecartement du support

- E -

2 mm

- E -

2 mm

- E -

2 mm

- F -

3 mm

 

Nota: En version normale la platine est échancrée dans sa partie supérieure et inférieure. Les joints d'étanchéité à lèvre (790 02X et 790 06B) ou tubulaire (790 08D) peuvent se prolonger à l'intérieur de la charnière sur le chant du verre. Ce n'est plus le cas en version "". Pour garantir une certaine étanchéité, il est donc conseillé d'utiliser l'encoche approfondie qui offre le minimum de jeu.

INSTALLATION

  • Démonter les plaques et contreplaques et fixer les charnières � plat sur le montant, en veillant à leur alignement.
  • S'assurer de la présence des cales liège et monter les plaques et contreplaques sur la porte.
  • Glisser les pinces sur les cames fixées au montant. Régler le nivea et l'aplomb de la porte.
  • Serrer les vis jusqu'au blocage. (Utiliser une clé 6 pans). Couple de serrage recommandé : 0,25 mkg.
  • En cas de décrochement, des platines de compensation sont disponibles (épaisseur 3 mm).
  • Eviter la pose en épi. Prévoir une butée lorsque le risque existe de porter l'angle d'ouverture au-delà de 90° de la position d'équilibre.

FINITION-DECOR

Les charnières existent en 3 décors : laiton chromé, chromé mat et doré. Le modèle à platine murale est également disponible en revêtement époxy blanc (RAL 9010) et en chromé brossé.

ACCESSOIRES

Les nombreux accessoires utilisés dans le montage de séparations, cabines de douche, salles de bain se trouvent dans le catalogue d' par exemple :

- tringle de douche, bouton de tirage, consulter la famille 699,

- pinces pour fixation de séparations, consulter les familles 504 et 634

- déflecteur d'eau, consulter la famille 790.

 

NOMENCLATURE DES PIECES

CODE

ARTICLE

DESIGNATION

UNITE DE VENTE

648 02N Charnière à platine murale - chromé

Jeu de 2

648 03P Charnière à platine murale - chromé brossé

Jeu de 2

648 04Q Charnière � platine murale - chromé mat

Jeu de 2

648 00L Charnière à platine murale - Doré

Jeu de 2

648 45K Charnière à platine murale - Epoxy blanc (RAL 9010)

Jeu de 2

648 05R Charnière "" à platine murale - chromé

Jeu de 2

648 07T Charnière "" à platine murale - chromé mat

Jeu de 2

648 19G Charnière "" à platine murale - Doré

Jeu de 2

648 09V Charnière "" à platine murale - chromé brossé

Jeu de 2

648 36Z Charnière glace/glace à 180° - chromé

Jeu de 2

648 37A Charnière glace/glace à 180° - chromé mat

Jeu de 2

648 48N Charnière glace/glace à 180° - Doré

Jeu de 2

648 46L Charnière glace/glace à 180° - Epoxy blanc (RAL 9010)

Jeu de 2

648 42G Charnière glace/glace à 90° centrale - chromé

Jeu de 2

648 43H Charnière glace/glace à 90° centrale - chromé mat

Jeu de 2

648 53T Charnière glace/glace à 90° centrale - Doré

Jeu de 2

648 39C Charnière glace/glace à 90° d'angle - chromé

Jeu de 2

648 40D Charnière glace/glace à 90° d'angle - chromé mat

Jeu de 2

648 49P Charnière glace/glace à 90° d'angle - Doré

Jeu de 2

648 34X Platine de compensation (ép. 3 mm) - chromé

pièce

648 35Y Platine de compensation (ép. 3 mm) - Doré

pièce

Joint d'étanchéité à lèvre pour glace 8 mm
Lg 2 ,20 m
Joint d'étanchéité à lèvre pour glace 10 mm
Lg 2 ,20 m

790 45U
790 46V
790 05A
Joint d'étanchéité magnétique :
- 90° Nord
- 90° Sud
- 180°

Lg 1 ,95 m
"
Lg 2 ,20 m

699 65Z
699 71G
699 66A
Bouton laiton simple à coller
- chromé
- chromé mat
- Poli

pièce
"
"

699 67B
699 73J
699 68C
699 72H
Bouton laiton simple, vissé :
- chromé
- chromé mat
- Poli
- blanc

Pièce
"
"
"

699 69D
699 75L
699 70F
699 74K
Bouton laiton double :
- Chromé
- chromé mat
- Poli
- blanc

Pièce
"
"
"

 

LIENS VERS LES SERIES  DE CHARNIERES :
   
 

ADLER SAS - Z.A. La Barogne - 9, Av des 22 Arpents - 77230 Moussy le Neuf - France
Tél.: 01.60.03.62.00 - Fax : 01.60.03.62.49
E-mail : admin1@adler-sa.com