Logo Adler SAS
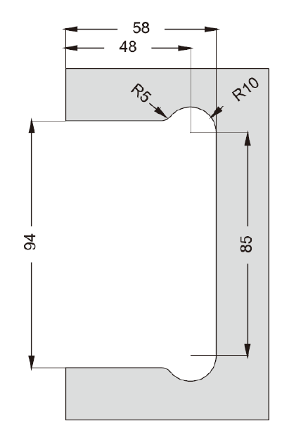
Glas einschnitt

ARTIKEL : 64955D

Klemmansatz A.S. quadratisch ausrichtbar 180deg Verchromt glänzend

ATTENTION : nachstehenden Zeichnung ist nicht in einem rechten Maßstab.

Um es auf den richtigen Maßstab mit Adobe® Reader® zu drucken, klicken Sie bitte HIER

Adobe acrobat reader

 

Klemmansatz A.S. quadratisch ausrichtbar  180deg  Verchromt glänzend