Logo Adler SAS
Dessins d'encoches

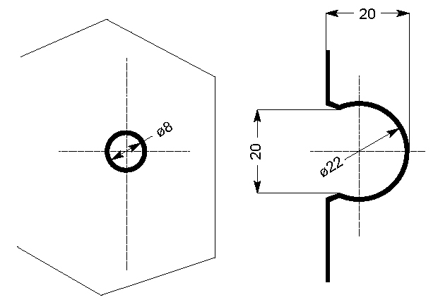
ARTICLE : 63467M

badge configuration (rouge) avec sauvegarde pour centrale de contrôle d´accès électronique

ATTENTION : Le dessin ci-dessous n'est pas à l'échelle.

Pour l'imprimer, avec Adobe® Reader®, cliquez ICI

Adobe acrobat reader

 

badge configuration (rouge) avec sauvegarde pour centrale de contrôle d´accès électronique