Logo Adler SAS
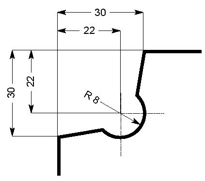
Notches drawings

ITEM : 63445N

Knauf minima quadratisch doppelt 57x57 gebürstetes Nickel

ATTENTION : hereunder drawing is not at a right scale.

In order to print it at the right scale with Adobe® Reader®, please click HERE

Adobe acrobat reader

 

Knauf minima quadratisch doppelt 57x57  gebürstetes Nickel